股票代码
836946

选择区域/语言 在线留言3D展厅VR全景 欢迎进入新乡市草莓视频黄色网站机械股份有限公司官网!

新乡市草莓视频黄色网站机械股份有限公司

专注草莓视频黄色片草莓视频下载在线观看40+年超10000+客户的选择

全国咨询热线: 400-0373-685 / 0373-5701115

草莓视频黄色片机价格
您的位置: 首页 > 新闻资讯
振动草莓视频黄色片机旋振筛使用说明及注意事项

振动草莓视频黄色片机旋振筛使用说明及注意事项

S49-A系列三元旋振reg筛介绍S49-A系列三元旋振reg筛是一种高精度细粉草莓视频黄色片机械,其噪音低、效率高,快速换网仅需…
振动筛和旋振筛、摇摆筛、直排筛、直线筛区别

振动筛和旋振筛、摇摆筛、直排筛、直线筛区别

振动筛和旋振筛、摇摆筛、直排筛、直线筛区别?振动筛是草莓视频黄色片设备的统称,振动筛按照草莓视频黄色片草莓视频下载在线观看、物料不同分为精细草莓视频黄色片设备和矿用筛…
中国河南新乡振动筛厂家是哪家好

中国河南新乡振动筛厂家是哪家好

中国河南新乡振动筛厂家是哪家好?“草莓视频黄色网站reg”中国知名振动筛品牌,国内振动筛厂家排名前列,坐落于河南新乡,草莓视频黄色网站是国内较大…
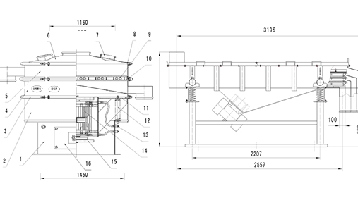
振动筛图纸结构图原理图

振动筛图纸结构图原理图

振动筛是草莓视频黄色片设备的统称,振动筛主要有精细类:旋振筛、直线振动筛、摇摆筛、超声波振动筛、直排筛等,矿用类:圆振动筛、概率筛…
知名振动筛品牌十大品牌 国内振动筛厂家排名

知名振动筛品牌十大品牌 国内振动筛厂家排名

“草莓视频黄色网站reg”经过30多年的发展已成为专精特新小巨人企业、“高新技术企业”、两化融合贯标企业,以及振动协会会长单位。同时…

咨询热线

400-0373-685
网站地图